Besondere Anforderungen an das Abwassersystem im Passivhaus

 

 

Jedes Abwassersystem, unabhängig welcher Haustyp vorliegt, muss belüftet sein. Im konventionellen Hausbau wird standardmäßig ein einfacher Dachentlüfter eingesetzt, der das Dach durchdringt. Im Winter sieht man durch diese Dachentlüfter warme Luft ausströmen. 

Für was werden diese Systeme benötigt?
Stellen Sie sich vor, Sie haben eine Toilette und daneben ein Waschbecken. Die Toilettenspülung wird betätigt und es rauschen 10 Liter Wasser plus Beiwerk das Fallrohr hinunter. Das Wasser, das das Fallrohr hinunterdrückt erzeugt einen  Unterdruck über der Wassersäule. Dieser Unterdruck muss ausgeglichen werden. Ist das Fallrohr zum Dach offen, strömt Luft durch den Dachentlüfter nach. Wäre das Rohr oben geschlossen, würde der Unterdruck durch das Waschbecken ausgeglichen, also würde Luft durch den Syfon des Waschbeckens (kleinster Querschnitt, geringster Gegendruck) in das Fallrohr gezogen. Es entstünde das bekannte Gurgelgeräusch einer alten Toilette samt der Geruchsbelästigung durch den trockengelaufenen Syphon. 
Im Passivhaus ist es oberstes Ziel, Wärmeverluste und Wärmebrücken zu vermeiden.
Ein Rohrentlüfter, der durch die Dachhaut geführt würde, stellt eine Wärmebrücke dar die schwer auszugleichen ist. Somit wird eine Entlüftung unter dem Dach notwendig.

 

Quelle: Green-Academy

Wärmebrücken:

Ein besonderes Problem stellen alle Durchdringungen der Dichteschichten dar. Solche Durchdringungen können z.B. Elektro-, Wasser- und Heizungsinstallationen sowie Dunstrohre und Entlüftungen sowie  Sparren und Deckträger darstellen. Grundsätzlich sollten aber durch überlegte Planungen Durchdringungen vermieden werden. Z.B. bietet sich bei einer Kanalentlüftung ein Fallrohrentlüfter an, welcher nur bei Unterdruck öffnet und bei Überdruck dicht bleibt, um ungünstige Gerüche zu vermeiden, und ein Einbau ohne Durchdringungen innerhalb der Gebäudehülle erfolgen kann. Überdruckdichtes, geruchsdichtes Fallrohrentlüftungsventil für Anwendung in gedämmten Dachräumen (Thermie Altbau). (Quelle: Wärmebrücken, Luft- und Winddichte)

Nachfolgende Marktübersicht stellt Systeme vor, die wir derzeit kennen. Dies ist keine Werbung für das eine oder andere System.

 

 

Dieses Problem löst der nachfolgend beschriebene Durgo-Lüfter kostengünstig und einfach.

Nachfolgende Bilder und Text wurde von der Homepage von Durgo übernommen:

Vergessen Sie das Entlüftungsrohr auf dem Dach. Das innovative Lüftungssystem für Innenmontagen existiert auf dem Markt. 

Durgo-Lüftungsventile arbeiten laut Hersteller zuverlässig und sicher. Bei Unterdruck öffnet sich das Durgo-Lüftungsventil. Ansonsten ist es geschlossen und absolut dicht. 


Selbstverständlich ist auch eine Weiterführung der Stammdimensionen von 110 mm und Verwendung eines Durgo-Lüfters der entsprechenden Dimension zulässig. 

Aufgrund der hohen Kapazität des Durgo-Lüfters braucht dieser nie eine größere Dimension als die Luftleitung besitzen.

Durgo-Lüftungsventile bieten vielfältige Möglichkeiten für die Innenmontage.
Mühelos lässt sich das Ventil im Wohnbereich installieren, beispielsweise im Badezimmer. 

Geeignet auch für die Installation im Kniestock unterhalb des Daches (sind die Räume unbe-
heizt, ist die Wärmeschutzhülle unbedingt erforderlich). 

 

Hebeanlagen in Kellerräumen können mit Durgo-Lüftungsventilen zuverlässig belüftet werden.  Die Dimensionen 70, 90 und 110 mm sind für 12 geschossige Gebäude, 50 mm für 7 geschossige Gebäude zulässig, ohne irgendwelche Einschränkungen für Stamm- oder Luftleitungsdimensionen. 

Für die Funktion der Abwasseranlagen ist eine 50-mm-Lüftungsleitung für einen Normfluß von höchstens 5 Litern pro Sekunde zulässig und 75 mm für größeren Normfluß. Demzufolge können die Dimensionen 50 und 75 mm in den meisten Fällen verwendet werden. 

Nur jede 10. Leitung muß über Dach be- und entlüftet werden.
Eine Entlüftung des Straßenkanals ist auch beim Durgo-Lüftungsventil erforderlich. Allerdings genügt es, wenn jede 10. Abwasserleitung zur Be- und Entlüftung über Dach geführt wird (am vorteilhaftesten ist hierfür der nächstgelegene Abwasserstrang zum Kanal). Auch bei größeren Gebäuden mit mehreren Leitungsstämmen sollte der dem Kanal am nächsten liegende Stamm über dem Dach abgeschlossen werden. 



Durgo GmbH 
Lüftungsventile-Vertrieb 
In der Hahnhecke 13 
64291 Darmstadt 
Telefon 0 700 / 96 99 00 00 
Telefax 0 61 50 / 96 99 99 

Internet http://www.durgo.de 
E-Mail info@durgo.de 

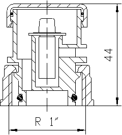
HL900
Rohrbelüfter DN50/70/100

 

Ein Vergleichbares System ist unter der Bezeichnung HL900 im Handel erhältlich bei www.hutterer-lechner.at

 

Als weiteres System können Multivent-Dachentlüftungshauben eingesetzt werden

Katalog anfordern unter:

Multivent GmbH 

MultiVent GmbH u. Co.KG
Vertriebsgesellschaft für lüftungstechnische Produkte
Wiebelsheidestraße 16
59757 Arnsberg (Germany)

 

 

www.bauweise.net